Apple’nın Gizli Yüzük Projesi: Ring Device ve Değişken Dönme Özellikleriyle Akıllı Kontrol
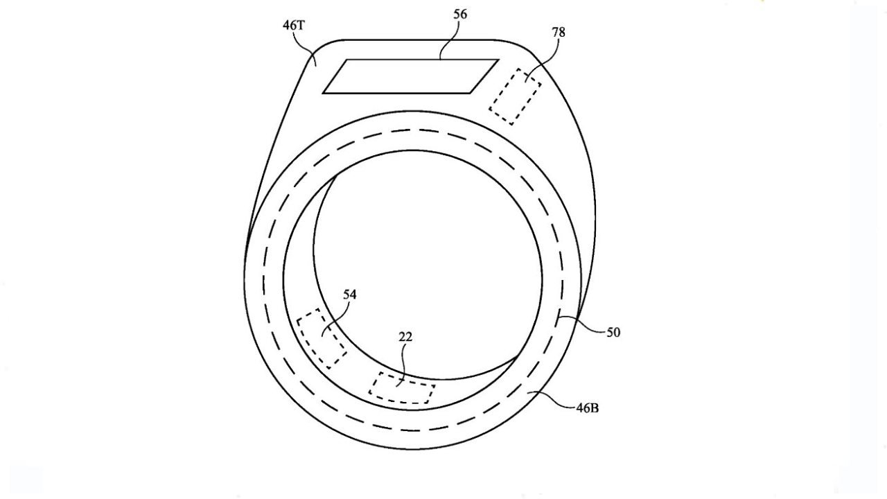
Apple, uzun süredir üzerinde çalıştığı akıllı yüzük fikrini yeniden gündeme getiriyor. Özellikle Apple Ring olarak anılan bu tasarım, patentlerle birlikte ses kontrolü ve mikrofon gibi işlevleri iPhone’da kullanma potansiyeli taşıyor. İlk patentin adı “Ring Device” olarak kaydedilmiş ve yüzüğün NFC ile biyometrik işlemleri gerçekleştirebilmesi ile sağlık takibi gibi uygulamalara olanak tanıyabileceği belirtiliyor.

Bunun yanında yüzüğün hareket ve yön sensörleri sayesinde el hareketlerini algılayarak farklı cihazları kontrol etme imkanı da söz konusu. Dönen halka ile liste kaydırma ve cihaz kontrolü mümkün olacak gibi görünüyor.

İkinci patentte ise yüzüğün kullanım şekline odaklanılıyor. “Değişken dönme direncine sahip yüzük” olarak adlandırılan tasarımda, parmakta sabit kalan iç halka ile dönebilen dış halka birlikte çalışıyor. Böylece yüzüğü çevirerek listeleri kaydırmak ya da evdeki cihazları kontrol etmek mümkünleşiyor.

Apple Ring, Apple Watch ve iPhone ile uyumlu biçimde çalışarak bildirim gösterebilecek, titreşimli uyarılar verebilecek ve çeşitli kontrol özellikleri sunabilecektir.